新闻动态

您现在的位置:首页 > 新闻动态 > 行业新闻
橡胶履带使用环境

2020-11-25

(1) 橡胶履带的使用温度一般在—25~+55℃间。

(2) 化学药品、机油、海水的盐份会加快履带的老化,在这样的环境下使用后要清洗履带。

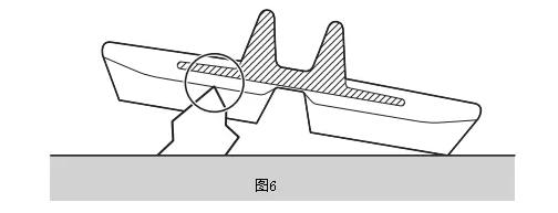
(3) 有锐利突起(如钢筋、石块等)的路面会导致橡胶履带外伤。(图6)

 

 

(4) 道路的边石、车辙或凹凸不平的路面会导致履带边缘接地侧花纹产生裂纹,这种裂纹未伤及钢丝帘线时可以继续使用。(图7)

 

 

(5) 砂砾、碎石路面会造成与承重轮接触的橡胶表面早期磨损,形成小裂口。严重时水份侵入,造成芯铁脱落、钢丝断裂。

 

服务热线:0574-86830265
手机网站
客服中心
工作时间

周一至周日

8:00 - 18:00

点击这里给我发消息 销售客服


请直接QQ联系!
展开客服